SA79減速機銘牌參數說明解讀含義:有關型號描述的詳細情況及其他信息可以參閱本業附件下載中的SA79減速機選型樣本。
SA79-BEJB4KW-4P-25.07-M3-90°
SA:系列代號
79:減速機規格代號
BEJB:電機
4KW:電機功率
4P:電機級數
25.07:減速機傳動比
M3:減速機安裝位置
90°:接線盒位置

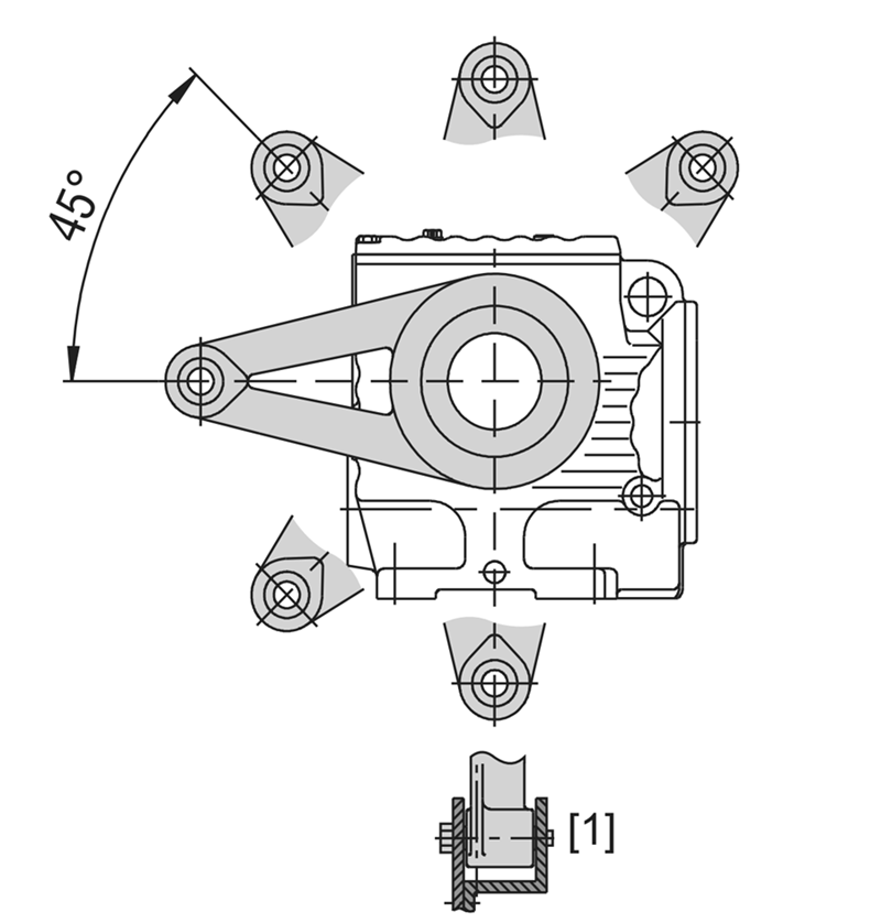
SA79減速機扭力臂安裝:
裝配時不得對扭矩支架用力過猛,固定扭矩臂時應采用強度為8.8級的螺栓。下圖為SA79減速機的扭力臂安裝示意圖:兩面均安裝支架。齒輪減速電機

減速機型號 | 螺栓 | 擰緊扭矩 |
SA39減速機 | 4xM6x16-8.8 | 11Nm |
SA49減速機 | 4xM8x20-8.8 | 25Nm |
SA59減速機 | 6xM8x20-8.8 | 25Nm |
SA69減速機 | 8xM12x25-8.8 | 86Nm |
SA79減速機 | 8xM12x35-8.8 | 86Nm |
SA89減速機 | 8xM16x35-8.8 | 210Nm |
SA99減速機 | 8xM16x35-8.8 | 210Nm |
SA79減速機電機安裝和電機安裝位置的調整:
均勻調整螺母將電機安裝平臺固定到需要的位置。如要將SA79減速機的位置調整到最低,則在必要情況下可以拆除吊裝螺栓/吊耳;對于損傷的漆面部位進行修補。自鎖減速機
將電機與電機安裝平臺對準(軸端不許對齊)并固定。
將輸入端部件安裝于輸入端的軸端面和電機軸,將輸入部件、軸端與電機軸的位置相互校正;如果必要可以對電機位置進行再次校正。
裝上傳動部件(V型皮帶、鏈條...)并均勻調節電機安裝平臺使其預張緊。期間不得用力過猛,否則將會擰壞電機安裝平臺和螺桿。
擰緊非調整螺母以固定螺桿。伺服電機連接減速機

SA79減速機型號:
ASA77-Y0.25KW,ASA77-Y0.37KW,ASA77-Y0.55KW,ASA77-Y0.75KW,ASA77-Y1.1KW,ASA77-Y1.5KW,ASA77-Y100M4,ASA77-Y112M4,ASA77-Y132M4,ASA77-Y2.2KW,ASA77-Y3KW,ASA77-Y4KW,ASA77-Y5.5KW,ASA77-Y7.5KW,ASA77-Y71M4,ASA77-Y80M4,ASA77-Y90M4,ASA77-YB100M4,ASA77-YB112M4,ASA77-YB132M4,ASA77-YB71M4,ASA77-YB80M4,ASA77-YB90M4,ASA77-YDP100M4,ASA77-YDP112M4,ASA77-YDP132M4,ASA77-YDP71M4,ASA77-YDP80M4,ASA77-YDP90M4,ASA77-YE100M4,ASA77-YE112M4,ASA77-YE132M4,ASA77-YE71M4,ASA77-YE80M4,ASA77-YE90M4,ASA77-YEJ100M4,ASA77-YEJ112M4,ASA77-YEJ132M4,ASA77-YEJ71M4,ASA77-YEJ80M4,ASA77-YEJ90M4,ASA77-YEJB100M4,ASA77-YEJB112M4,ASA77-YEJB132M4,ASA77-YEJB71M4,ASA77-YEJB80M4,ASA77-YEJB90M4,ASA77-YP100M4,ASA77-YP112M4,ASA77-YP132M4,ASA77-YP71M4,ASA77-YP80M4,ASA77-YP90M4,ASA77-YPB100M4,ASA77-YPB112M4,ASA77-YPB132M4,ASA77-YPB71M4,ASA77-YPB80M4,ASA77-YPB90M4,ASA77-YPE100M4,ASA77-YPE112M4,ASA77-YPE132M4,ASA77-YPE71M4,ASA77-YPE80M4,ASA77-YPE90M4,ASA77-YS100M4,ASA77-YS112M4,ASA77-YS132M4,ASA77-YS71M4,ASA77-YS80M4,ASA77-YS90M4,ASA77-YVB100M4,ASA77-YVB112M4,ASA77-YVB132M4,ASA77-YVB71M4,ASA77-YVB80M4,ASA77-YVB90M4,ASA77-YVP100M4,ASA77-YVP112M4,ASA77-YVP132M4,ASA77-YVP71M4,ASA77-YVP80M4,ASA77-YVP90M4,ASA77-YVPEJ100M4,ASA77-YVPEJ112M4,ASA77-YVPEJ132M4,ASA77-YVPEJ71M4,ASA77-YVPEJ80M4,ASA77-YVPEJ90M4,WSA77-Y0.25KW,WSA77-Y0.37KW,WSA77-Y0.55KW,WSA77-Y0.75KW,WSA77-Y1.1KW,WSA77-Y1.5KW,WSA77-Y100M4,WSA77-Y112M4,WSA77-Y132M4,WSA77-Y2.2KW,WSA77-Y3KW,WSA77-Y4KW,WSA77-Y5.5KW,WSA77-Y7.5KW,WSA77-Y71M4,WSA77-Y80M4,WSA77-Y90M4,WSA77-YB100M4,WSA77-YB112M4,WSA77-YB132M4,WSA77-YB71M4,WSA77-YB80M4,WSA77-YB90M4,WSA77-YDP100M4,WSA77-YDP112M4,WSA77-YDP132M4,WSA77-YDP71M4,WSA77-YDP80M4,WSA77-YDP90M4,WSA77-YE100M4,WSA77-YE112M4,WSA77-YE132M4,WSA77-YE71M4,WSA77-YE80M4,WSA77-YE90M4,WSA77-YEJ100M4,WSA77-YEJ112M4,WSA77-YEJ132M4,WSA77-YEJ71M4,WSA77-YEJ80M4,WSA77-YEJ90M4,WSA77-YEJB100M4,WSA77-YEJB112M4,WSA77-YEJB132M4,WSA77-YEJB71M4,WSA77-YEJB80M4,WSA77-YEJB90M4,WSA77-YP100M4,WSA77-YP112M4,WSA77-YP132M4,WSA77-YP71M4,WSA77-YP80M4,WSA77-YP90M4,WSA77-YPB100M4,WSA77-YPB112M4,WSA77-YPB132M4,WSA77-YPB71M4,WSA77-YPB80M4,WSA77-YPB90M4,WSA77-YPE100M4,WSA77-YPE112M4,WSA77-YPE132M4,WSA77-YPE71M4,WSA77-YPE80M4,WSA77-YPE90M4,WSA77-YS100M4,WSA77-YS112M4,WSA77-YS132M4,WSA77-YS71M4,WSA77-YS80M4,WSA77-YS90M4,WSA77-YVB100M4,WSA77-YVB112M4,WSA77-YVB132M4,WSA77-YVB71M4,WSA77-YVB80M4,WSA77-YVB90M4,WSA77-YVP100M4,WSA77-YVP112M4,WSA77-YVP132M4,WSA77-YVP71M4,WSA77-YVP80M4,WSA77-YVP90M4,WSA77-YVPEJ100M4,WSA77-YVPEJ112M4,WSA77-YVPEJ132M4,WSA77-YVPEJ71M4,WSA77-YVPEJ80M4,WSA77-YVPEJ90M4,NSA77-Y0.25KW,NSA77-Y0.37KW,NSA77-Y0.55KW,NSA77-Y0.75KW,NSA77-Y1.1KW,NSA77-Y1.5KW,NSA77-Y100M4,NSA77-Y112M4,NSA77-Y132M4,NSA77-Y2.2KW,NSA77-Y3KW,NSA77-Y4KW,NSA77-Y5.5KW,NSA77-Y7.5KW,NSA77-Y71M4,NSA77-Y80M4,NSA77-Y90M4,NSA77-YB100M4,NSA77-YB112M4,NSA77-YB132M4,NSA77-YB71M4,NSA77-YB80M4,NSA77-YB90M4,NSA77-YDP100M4,NSA77-YDP112M4,NSA77-YDP132M4,NSA77-YDP71M4,NSA77-YDP80M4,NSA77-YDP90M4,NSA77-YE100M4,NSA77-YE112M4,NSA77-YE132M4,NSA77-YE71M4,NSA77-YE80M4,NSA77-YE90M4,NSA77-YEJ100M4,NSA77-YEJ112M4,NSA77-YEJ132M4,NSA77-YEJ71M4,NSA77-YEJ80M4,NSA77-YEJ90M4,NSA77-YEJB100M4,NSA77-YEJB112M4,NSA77-YEJB132M4,NSA77-YEJB71M4,NSA77-YEJB80M4,NSA77-YEJB90M4,NSA77-YP100M4,NSA77-YP112M4,NSA77-YP132M4,NSA77-YP71M4,NSA77-YP80M4,NSA77-YP90M4,NSA77-YPB100M4,NSA77-YPB112M4,NSA77-YPB132M4,NSA77-YPB71M4,NSA77-YPB80M4,NSA77-YPB90M4,NSA77-YPE100M4,NSA77-YPE112M4,NSA77-YPE132M4,NSA77-YPE71M4,NSA77-YPE80M4,NSA77-YPE90M4,NSA77-YS100M4,NSA77-YS112M4,NSA77-YS132M4,NSA77-YS71M4,NSA77-YS80M4,NSA77-YS90M4,NSA77-YVB100M4,NSA77-YVB112M4,NSA77-YVB132M4,NSA77-YVB71M4,NSA77-YVB80M4,NSA77-YVB90M4,NSA77-YVP100M4,NSA77-YVP112M4,NSA77-YVP132M4,NSA77-YVP71M4,NSA77-YVP80M4,NSA77-YVP90M4,NSA77-YVPEJ100M4,NSA77-YVPEJ112M4,NSA77-YVPEJ132M4,NSA77-YVPEJ71M4,NSA77-YVPEJ80M4,NSA77-YVPEJ90M4,SSA77-Y0.25KW,SSA77-Y0.37KW,SSA77-Y0.55KW,SSA77-Y0.75KW,SSA77-Y1.1KW,SSA77-Y1.5KW,SSA77-Y100M4,SSA77-Y112M4,SSA77-Y132M4,SSA77-Y2.2KW,SSA77-Y3KW,SSA77-Y4KW,SSA77-Y5.5KW,SSA77-Y7.5KW,SSA77-Y71M4,SSA77-Y80M4,SSA77-Y90M4,SSA77-YB100M4,SSA77-YB112M4,SSA77-YB132M4,SSA77-YB71M4,SSA77-YB80M4,SSA77-YB90M4,SSA77-YDP100M4,SSA77-YDP112M4,SSA77-YDP132M4,SSA77-YDP71M4,SSA77-YDP80M4,SSA77-YDP90M4,SSA77-YE100M4,SSA77-YE112M4,SSA77-YE132M4,SSA77-YE71M4,SSA77-YE80M4,SSA77-YE90M4,SSA77-YEJ100M4,SSA77-YEJ112M4,SSA77-YEJ132M4,SSA77-YEJ71M4,SSA77-YEJ80M4,SSA77-YEJ90M4,SSA77-YEJB100M4,SSA77-YEJB112M4,SSA77-YEJB132M4,SSA77-YEJB71M4,SSA77-YEJB80M4,SSA77-YEJB90M4,SSA77-YP100M4,SSA77-YP112M4,SSA77-YP132M4,SSA77-YP71M4,SSA77-YP80M4,SSA77-YP90M4,SSA77-YPB100M4,SSA77-YPB112M4,SSA77-YPB132M4,SSA77-YPB71M4,SSA77-YPB80M4,SSA77-YPB90M4,SSA77-YPE100M4,SSA77-YPE112M4,SSA77-YPE132M4,SSA77-YPE71M4,SSA77-YPE80M4,SSA77-YPE90M4,SSA77-YS100M4,SSA77-YS112M4,SSA77-YS132M4,SSA77-YS71M4,SSA77-YS80M4,SSA77-YS90M4,SSA77-YVB100M4,SSA77-YVB112M4,SSA77-YVB132M4,SSA77-YVB71M4,SSA77-YVB80M4,SSA77-YVB90M4,SSA77-YVP100M4,SSA77-YVP112M4,SSA77-YVP132M4,SSA77-YVP71M4,SSA77-YVP80M4,SSA77-YVP90M4,SSA77-YVPEJ100M4,SSA77-YVPEJ112M4,SSA77-YVPEJ132M4,SSA77-YVPEJ71M4,SSA77-YVPEJ80M4,SSA77-YVPEJ90M4,GSA79-Y0.25KW,GSA79-Y0.37KW,GSA79-Y0.55KW,GSA79-Y0.75KW,GSA79-Y1.1KW,GSA79-Y1.5KW,GSA79-Y100M4,GSA79-Y112M4,GSA79-Y132M4,GSA79-Y2.2KW,GSA79-Y3KW,GSA79-Y4KW,GSA79-Y5.5KW,GSA79-Y7.5KW,GSA79-Y71M4,GSA79-Y80M4,GSA79-Y90M4,GSA79-YB100M4,GSA79-YB112M4,GSA79-YB132M4,GSA79-YB71M4,GSA79-YB80M4,GSA79-YB90M4,GSA79-YDP100M4,GSA79-YDP112M4,GSA79-YDP132M4,GSA79-YDP71M4,GSA79-YDP80M4,GSA79-YDP90M4,GSA79-YE100M4,GSA79-YE112M4,GSA79-YE132M4,GSA79-YE71M4,GSA79-YE80M4,GSA79-YE90M4,GSA79-YEJ100M4,GSA79-YEJ112M4,GSA79-YEJ132M4,GSA79-YEJ71M4,GSA79-YEJ80M4,GSA79-YEJ90M4,GSA79-YEJB100M4,GSA79-YEJB112M4,GSA79-YEJB132M4,GSA79-YEJB71M4,GSA79-YEJB80M4,GSA79-YEJB90M4,GSA79-YP100M4,GSA79-YP112M4,GSA79-YP132M4,GSA79-YP71M4,GSA79-YP80M4,GSA79-YP90M4,GSA79-YPB100M4,GSA79-YPB112M4,GSA79-YPB132M4,GSA79-YPB71M4,GSA79-YPB80M4,GSA79-YPB90M4,GSA79-YPE100M4,GSA79-YPE112M4,GSA79-YPE132M4,GSA79-YPE71M4,GSA79-YPE80M4,GSA79-YPE90M4,GSA79-YS100M4,GSA79-YS112M4,GSA79-YS132M4,GSA79-YS71M4,GSA79-YS80M4,GSA79-YS90M4,GSA79-YVB100M4,GSA79-YVB112M4,GSA79-YVB132M4,GSA79-YVB71M4,GSA79-YVB80M4,GSA79-YVB90M4,GSA79-YVP100M4,GSA79-YVP112M4,GSA79-YVP132M4,GSA79-YVP71M4,GSA79-YVP80M4,GSA79-YVP90M4,GSA79-YVPEJ100M4,GSA79-YVPEJ112M4,GSA79-YVPEJ132M4,GSA79-YVPEJ71M4,GSA79-YVPEJ80M4,GSA79-YVPEJ90M4。
SA79減速機生產廠家展示:看廠請聯系微信13827261050,獲取位置,需提前一天預約http://www.wuxingxianti.com/product/list-saxiliejiansuji-cn.html




推薦類似型號:S79減速機
關鍵詞:私服電機帶減速機一體機_伺服電機連接減速機_SA系列減速機_私服電機減速機_GSA系列減速機_SA系列減速器_伺服電機連接減速器_私服減速機_私服電機減速器
SA系列減速機型號:SA39減速機,SA49減速機,SA59減速機,SA69減速機,SA79減速機,SA89減速機,SA99齒輪減速電機
SA系列自鎖減速機可配變頻電機,剎車電機,防爆電機,伺服電機,交流電機,直流電機,三相電機,單相電機 0.12KW-22KW之間
如需工程師幫選型,請加微信13827261050,留言告知工程師參數要求
標簽:   SA79減速機 SA77減速機結構圖 SA77減速機數模 SA77減速機樣本 SA77減速機規格